Cylinder Block
|
TOC |
| Tool Number
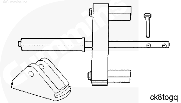
ST-1178 |
Main Bearing Cap Puller
Used to remove the main bearing caps from the cylinder block.
|
|
| Tool Number
ST-1228 |
Camshaft Bushing Drive Set
Used to replace cylinder block camshaft bushings.
|
|
| Tool Number
4919704 |
Oil Seal Puller/Installation
Used to pull or install the front crankshaft seals with and/or without a wear sleeve. Includes: Top plate, Part Number ST-1259-1, and seal puller screw, Part Number ST1259-6.
|
|
| Tool Number
3375432 |
Crack Detection Kit
Used to inspect components for cracks.
|
|
| Tool Number
3375496 |
Oil Seal Puller Drill Pilots (Front Seal)
Used to drill into the front oil seat to provide a pilot hole for the puller screws. Use two Number 31 (0.120) drills.
|
|
| Tool Number
4919705 |
Crankshaft Oil Seal Installer Kit (Rear Crankshaft Seal)
Used to align the rear cover plate and install the rear crankshaft seals with or without wear sleeves.
|
|
| Tool Number
3375601 |
Connecting Rod Guide Pins (Two)
Used to protect the crankshaft journal by guiding the connecting rod during installation or removal.
|
|
| Tool Number
3375629 |
Universal Cylinder Liner Puller
Used to remove the cylinder liners from all current engine series.
|
|
| Tool Number
3375861 |
Camshaft Bushing Driver
Used to remove camshaft bushings.
|
|
| Tool Number
3376208 |
Capscrew Thread Salvage Tool Kit
Used to salvage cylinder blocks with damaged cylinder head capscrew threads.
|
|
| Tool Number
3823231 |
Chip Control Plug
Used to prevent contamination of the engine block during counterbore repairs.
|
|
| Tool Number
3823495 |
Depth Gauge
Used to measure the counterbore ledge.
|
|
| Tool Number
3823615 |
Liner Installation Tool
Used to install cylinder liners into the block.
|
|
| Tool Number
3823717 |
Safety Solvent
Used to clean machine surfaces prior to the installation of thread repair inserts, coolant passage surfaces, and upper deck repair sleeves.
|
|
| Tool Number
3823745 |
Cylinder Block Pressure Test Fixture
Used to check cylinder block counterbore leaks.
|
|
| Tool Number
3823818 |
Main Bearing Roll-Out Tool
Used to remove and install main bearings.
|
|
| Tool Number
3823871 |
Piston Ring Expander
Designed to install piston rings on the piston without damaging or distorting the rings.
|
|
| Tool Number
3824451 |
Accessory Drive Seal Installation Tool
Used to drive the accessory drive oil seal and wear sleeve into the gear cover while mounted.
|
|
| Tool Number
3824520 |
Marked Socket
Used to tighten the rod capscrews
|
|
| Tool Number
3824703 |
Accessory Drive Bushing Removal and Installation Kit
Used to remove and replace accessory drive support bushings.
|
|
|
Last Modified: 03-Aug-2010
Published by Jack
Hello, I'm Jack, a diesel engine fan and a blogger. I write about how to fix and improve diesel engines, from cars to trucks to generators. I also review the newest models and innovations in the diesel market. If you are interested in learning more about diesel engines, check out my blog and leave your feedback.
View all posts by Jack