Electronic Control System Signature, ISX and QSX15 Engines – 019-211   Packard Relay Connector

Pin Replacement

TOC

The connector pins can not be replaced. The connector must be replaced as a unit.

Refer to the Connector Replacement procedure for replacement instructions.

SMALL | MEDIUM | LARGE

Connector Replacement

TOC

Before installing the new connector, perform a test fit to make sure the connector is keyed properly.

Refer to the appropriate wiring repair kit in the service tools table in the front of Section 19 for the correct repair connector.

Refer to the wiring diagram in Section E for pin locations.

Replace one contact wire at a time. If more than one wire needs replaced, attach a lettered tag to each wire removed.

SMALL | MEDIUM | LARGE
   


Measure 152 mm [6 in] from the face of the connector, and remove the wiring harness protective cover.

SMALL | MEDIUM | LARGE
   


Before cutting the wires measure and tag them.

Use wire crimping tool, Part Number 3822930.

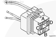
Cut wire A 130 mm [5 in] from the face of the connector.

Cut wire B 117 mm [4-½ in] from the face of the connector.

Cut wire C 104 mm [4 in] from the face of the connector.

Cut wire D 91 mm [3-½ in] from the face of the connector.

SMALL | MEDIUM | LARGE
   


Use crimping tool, Part Number 3822930, to remove 6 mm [¼ inch] of insulation from the electrical wires.

Before installing the new connector, perform a test fit to make sure the connector is keyed correctly.

Refer to the appropriate wiring repair kit in the service tools table in the front of Section 19 for the correct repair connector.

Refer to the wiring diagram in Section E for pin locations.

Replace one contact wire at a time. If more than one wire needs replaced, attach a lettered tag to each wire removed.

SMALL | MEDIUM | LARGE
   


Install the terminal repair wires on the bare wires. Use wire crimping tool, Part Number 3822930, to crimp the terminals.

Use heat gun, Part Number 3822860, or an open flame to heat the shrink tubing. The tubing will shrink and make the connection waterproof.

SMALL | MEDIUM | LARGE
   


Wrap the wires with tape, for added protection, to complete the repair.

SMALL | MEDIUM | LARGE
   


 CAUTION 

Use only Cummins-recommended lubricant DS-ES, Part Number 3822934, other lubricants, such as lubricating oil or grease, in the connectors can cause ECM damage, poor engine performance, or premature connector pin wear.

Apply a small amount of lubricant to the connector terminals. Before installing, fill the entire connector cavity with lubricant.

SMALL | MEDIUM | LARGE
Last Modified:  09-Oct-2003