Cummins N14 STC, Celect, Celect Plus – Service Manual 007-029   Lubricating Oil Pressure Regulator (Main Rifle)

General Information

TOC

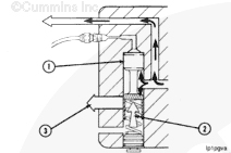
The pressure regulator (1) senses main rifle oil pressure (2) to maintain the correct oil pressure and flow.

An external signal line (3) sends a signal from the main rifle oil pressure regulator through a dampening orifice (4) in the lubricating oil pump cover to the top of the pressure regulator cavity.

 
SMALL | MEDIUM | LARGE


The regulator plunger (1) is held in the upward or closed position by spring force (2). The port in the regulator cavity that dumps excessive oil into the oil pan (3) is blocked by the regulator plunger when it is in the closed position.

The pressure regulator remains in the closed position until the pressure in the main rifle reaches approximately 241 kPa [35 psi].

 
SMALL | MEDIUM | LARGE
   


At that point, the oil pressure from the main rifle oil pressure regulator, acting against the end of the regulator plunger, overcomes the force of the regulator plunger spring.

The pressure regulator plunger moves downward (open), uncovering the dump port in the regulator cavity. This allows any oil in excess of the amount required to maintain 241 kPa [35 psi] to return to the oil pan.

 
SMALL | MEDIUM | LARGE
   


An internal vent drilling (1) in the pressure regulator cavity allows any oil that has leaked past the plunger into the spring cavity to drain back into the oil pan.

The regulator plunger remains in the downward or open position until the main rifle oil pressure drops below 241 kPa [35 psi].

 
SMALL | MEDIUM | LARGE
   


At that time, the regulator spring force is high enough to overcome the oil pressure signal from the main rifle. The regulator plunger moves upward or closed once again, blocking off the dump port to the oil pan.

 
SMALL | MEDIUM | LARGE
   


Step timing control (STC) engines are equipped with a viscosity sensor which is in series with the main oil rifle pressure signal line and the lubricating oil pump pressure regulator. The purpose of the viscosity sensor is to increase lubricating system pressures to the STC injector tappets when the oil is cold.

  1. Main oil rifle pressure
  2. To main oil rifle
  3. DFC pressure signal
  4. Drain to oil pan
  5. Viscosity sensor.
 
SMALL | MEDIUM | LARGE
   


The viscosity sensor changes the oil pressure as a function of the oil temperature. It raises the oil pressure when the oil is cold (more viscous) and lowers the oil pressure to normal operating pressure when the oil is warm (less viscous).

 
SMALL | MEDIUM | LARGE
   


Oil from the oil rifle (1) enters the viscosity sensor and flows through the long annular area (2). When the oil is cold, there is a very high pressure drop from the oil rifle to the undercut area (3). Due to this pressure drop, the lubricating pump regulator (5) “sees”
a pressure in the undercut area lower than oil rifle pressure. Therefore, a higher than normal oil rifle pressure is required to achieve the normal lubricating pump regulator line pressure
(approximately 275 kPa [40 psi]).

 
SMALL | MEDIUM | LARGE
   


When oil temperature increases, the viscosity of the oil decreases, allowing it to pass through the annular area easier. The pressure drop from the oil rifle to the undercut area is almost zero. The lubricating pump regulator “sees” a pressure in the undercut area the same as oil rifle pressure. Therefore, an increase in oil rifle pressure is no longer required to achieve normal lubricating pump regulator line pressure. The lubricating pump delivers normal pressure to the oil rifle while receiving a normal regulator pressure signal.

 
SMALL | MEDIUM | LARGE
   


The orifice (4) also helps to increase the oil rifle pressure when the oil is cold by bleeding off some of the flow in the undercut area. If the orifice is too small, the viscosity sensor is effectively eliminated from the system and acts as a lubricating pump signal line. If the orifice is too large, it will bleed an unacceptable amount of the system’s capacity off to the drain (6) to the oil sump pan, reducing the available oil flow for lubrication. If the orifice is too large, it will also bleed off too much flow from the undercut area. This causes the lubricating pump to deliver high oil pressure even under warm oil temperatures. This can decrease the life of the lubricating pump.

 
SMALL | MEDIUM | LARGE
   

Remove

TOC

 WARNING 

Carefully remove the capscrew (1). The pressure regulator spring (3) is under compression. Personal injury can result. Wear face and eye protection.

Remove the capscrew (1), the retainer plug (2), the spring (3), and the regulator plunger
(4) from the lubricating oil pump body.

SMALL | MEDIUM | LARGE
   

Clean

TOC

 WARNING 

When using solvents, acids, or alkaline materials for cleaning, follow the manufacturer’s recommendations for use. Wear goggles and protective clothing to reduce the possibility of personal injury.

Clean the oil pressure regulator assembly with solvent and an air solvent gun.

SMALL | MEDIUM | LARGE
   

Inspect for Reuse

TOC

Inspect the regulator plunger for scratches or scoring. If scratches are deep enough to be felt with a fingernail, the plunger must be replaced.

Inspect the spring for damaged or broken coils.

SMALL | MEDIUM | LARGE
   


Use the valve spring tester, Part Number 3375182, to measure the spring force.

Compress the spring to a height of 46.23 mm [1.820 in].

Required Force to Compress Springs:

n lb
98 MIN 22
116 MAX 26

SMALL | MEDIUM | LARGE
   

Install

TOC

Install new o-rings onto the plunger retainer plug. Lubricate the o-rings with vegetable oil.

Install the plunger (4), the spring (3), the retainer plug (2) and the capscrew (1).

Tighten the retainer plug capscrew.

Torque Value:  27  n.m  [239 in-lb]

SMALL | MEDIUM | LARGE
   


Confirm that the oil level in the oil pan is to the full mark.

Operate the engine until the water temperature reaches 82°C [180°F]. Check the oil pressure, and check for oil leaks.

SMALL | MEDIUM | LARGE
Last Modified:  21-Nov-2011