1999 GM 6.5L V8 – Cylinder Head Removal

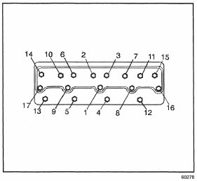
1. Remove the cylinder head retaining bolts (1-17).

2. Remove the cylinder heads.

3. Remove the gaskets.

 

Leave a Reply

Your email address will not be published. Required fields are marked *