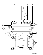
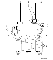
1. Apply a small amount of oil to the O-ring of the air compressor.
2. Slide the air compressor into the flywheel housing.
3. Install the air compressor and fit the attachment bolts (6).
Tighten the attachment bolts (6) later in the process.
4. Apply a small amount of oil to the new O-rings (1) of the connecting pipe with seal (2).
5. Use an M6 bolt to install the connecting pipe with seal (2) as shown.
6. Tighten the air compressor attachment bolts (6) to the specified torque.
7. Fit a new copper sealing washer onto the sealing plug (5).
8. Install the sealing plug (5) and tighten it to the specified torque.
Always use the original sealing plug (5), so that the distance between the oil connection pipe and the sealing plug (5) is correct.


