Cummins N14 STC, Celect, Celect Plus – Service Manual 006-025   Static Injection Timing

General Information

TOC

The static timing is relative to the amount of push tube travel remaining when the piston is 5.161 mm [0.2032 in], or 19 degrees before top dead center (TDC) on the compression stroke.

 
SMALL | MEDIUM | LARGE


The static timing code appears on the engine dataplate. Codes are alphabetic letters that relate to a numerical specification.

Specifications can be found in the Control Parts List (CPL).

SMALL | MEDIUM | LARGE
   


Advanced
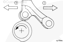
timing (1) means the fuel is injected earlier into the cylinder during the compression stroke.

Retarded
timing (2) means the fuel injection occurs closer to TDC in the cylinder.

 
SMALL | MEDIUM | LARGE
   


The amount of push rod travel determines the time of fuel injection in relation to the piston position.

A

low
numerical value of the push rod travel remaining indicates a greater degree of advanced (1) or fast timing.

A

high
numerical value of the push rod travel remaining indicates a greater degree of retarded (2) or slow timing.

 
SMALL | MEDIUM | LARGE
   


Injection timing changes are accomplished by

advancing
(1) or

retarding
(2) the cam follower action in relation to the piston position.

This is accomplished by changing the orientation of the camshaft lobe to the cam follower using different cam follower gasket thicknesses or offset camshaft gear keys.

NOTE: Gear train timing (index mark alignment)

always remains the same.

 
SMALL | MEDIUM | LARGE
   

Preparatory Steps

TOC

NOTE: It is not necessary to remove all of the injectors; however, engine rotation will be easier with all of the injectors removed.

SMALL | MEDIUM | LARGE
   

Measure

TOC

NOTE: The injection timing check is a measurement which determines the injector push rod travel in relation to the piston travel. Due to normal parts tolerances, it is necessary to check one cylinder for each cam follower housing.

 
SMALL | MEDIUM | LARGE
   


NOTE: Injector timing tool, Part Number 3823451, can not be installed without removing the rocker levers.

Refer to Procedure 003-009 in Section 3.

 CAUTION 

Pivot the dial indicator stems away from their respective plunger rods before installing the timing fixture to prevent damage to the indicators.

Install the piston plunger rod (1) into the injector bore of the number 1 cylinder.

NOTE: Make sure the plunger is centered and on top of the piston.

SMALL | MEDIUM | LARGE
   


Align the swivel bracket with the injector clamp capscrew hole. Install the 6-inch swivel bracket capscrew. Finger-tighten the capscrew. Position the push rod plunger rod near the push rod.

SMALL | MEDIUM | LARGE
   


Tighten the swivel bracket capscrew enough to hold the timing tool rigid. Make sure the piston plunger post is clamped squarely to the cylinder head.

 
SMALL | MEDIUM | LARGE
   


Align the plunger rod (4) and the injector push rod (7) with each other and parallel to the plunger rod.

NOTE: Tighten the clamp handle (5) after the plunger rod is aligned with the injector push rod.

 
SMALL | MEDIUM | LARGE
   


Loosen the support bracket (6), and slide the bracket down until the plunger rod (4) engages the injector push rod (7).

NOTE: The support bracket must be aligned with the vertical line on the clamp handle bracket. The push rod (7)

must be vertically aligned with the plunger rod (4).

 
SMALL | MEDIUM | LARGE
   


Compress the plunger rod tension spring approximately 12.7 mm [0.50 in], and tighten the support bracket.

SMALL | MEDIUM | LARGE
   


Determine the piston TDC on the compression stroke by rotating the crankshaft in the direction of engine rotation ( clockwise ) until the piston plunger reaches its uppermost position.

NOTE: Use only the crankshaft to rotate the engine. The use of the gears will result in false measurements. Gear lash

must
be closed up in the direction of normal rotation (crankshaft

clockwise ).

SMALL | MEDIUM | LARGE
   


NOTE: The timing tool indicator needles will both start to move in the same direction of rotation as the piston approaches TDC if the cylinder is on the compression stroke. If both needles do

not move in the same direction, rotate the engine one complete revolution in the same direction of rotation.

 
SMALL | MEDIUM | LARGE
   


 CAUTION 

Both indicators must have a travel range of at least 6.35 mm [0.250 in] or the indicators will be damaged.

Place the piston travel dial indicator over the plunger rod with the contact tip in the center of the piston plunger rod. Lower the indicator to within 0.63 mm [0.025 in] of the fully compressed position.

Tighten the thumbscrew to hold the gauge in position.

SMALL | MEDIUM | LARGE
   


Rotate the crankshaft back and forth to make sure the piston is precisely at TDC on the compression stroke.

NOTEAlways set the dial indicator at “0” (zero) at TDC with the crankshaft having just been rotated in the direction of normal rotation

(clockwise) to reduce the timing errors due to gear backlash.

NOTE: TDC is indicated by the maximum

clockwise position of the piston travel indicator pointer.

Set the dial indicator at “0” (zero). Lock the indicator face with the thumbscrew.

SMALL | MEDIUM | LARGE
   


Rotate the crankshaft in the direction of engine rotation ( clockwise ) to 90 degrees after top dead center (ATDC).

NOTE: The piston travel plunger will be at the “NH/NT 90-degree” mark on the timing tool.

SMALL | MEDIUM | LARGE
   


Place the push rod travel dial indicator in the center of the injector push rod plunger. Lower the indicator to within 0.63 mm [0.025 in] of a fully compressed position, and tighten the thumbscrew to hold the indicator in position.

SMALL | MEDIUM | LARGE
   


Set the dial indicator at “0” (zero). Lock the indicator face with the thumbscrew.

 
SMALL | MEDIUM | LARGE
   


Rotate the crankshaft in the opposite direction of engine rotation (

counterclockwise ) through TDC to 45 degrees before top dead center (BTDC).

NOTE: This step is necessary to remove the gear train lash and to provide more accurate indicator readings.

Observe the dial indicator readings prior to crankshaft rotation to assist in later determining BTDC piston setting and timing reading.

SMALL | MEDIUM | LARGE
   


NOTE: If the crankshaft is rotated beyond the -5.161 mm [-0.2032 in] position, the crankshaft must be rotated

counterclockwise back to 45 degrees BTDC.

Rotate the crankshaft slowly in the direction of engine rotation ( clockwise ) until a reading of -5.161 mm [-0.2032 in] BTDC is reached on the piston travel dial indicator.

SMALL | MEDIUM | LARGE
   


Compare the reading of the injector push rod travel indicator to the specification listed for the timing code.

NOTE: The push rod travel indicator is read in a

counterclockwise direction from “0” (zero). The total amount of travel represents the injection timing value.

SMALL | MEDIUM | LARGE
   


If the injection timing is not within the specified limits, check the following:

  1. Is the timing tool correctly installed?
  2. Are the dial indicators correctly adjusted?
  3. Has the crankshaft been rotated in the correct direction and timing sequence?
  4. Are the cam follower housing capscrews correctly tightened? Refer to Procedure 004-001 in Section 4.
  5. Are the crankshaft and camshaft gears in correct alignment?

SMALL | MEDIUM | LARGE
   


NOTE: To verify the correct injection timing for a particular engine, check the injection timing code on the engine dataplate. To acquire the timing specifications, refer to the Control Parts List (CPL).

SMALL | MEDIUM | LARGE
   


If the indicator reading is higher than the specification, the timing is retarded (2).

If the indicator reading is lower than the specification, the timing is advanced (1).

 
SMALL | MEDIUM | LARGE
   


NOTE: The injection timing can be changed by removing the cam follower housing and by increasing or decreasing the gasket thickness. Each 0.18 mm [0.007 in] of gasket thickness affects injection timing by approximately 0.05 mm [0.002 in] indicator travel.

 
SMALL | MEDIUM | LARGE
   


NOTE: Gaskets are available in the following nominal thicknesses:

  1. 0.18 mm [0.007 in]
  2. 0.43 mm [0.017 in]
  3. 0.43 mm [0.017 in] (Print-O-Seal*)
  4. 0.56 mm [0.022 in]
  5. 0.76 mm [0.030 in].

*One Print-O-Seal gasket must be used for each cam follower housing.

 
SMALL | MEDIUM | LARGE
   


Increase the gasket thickness to advance the injection timing (Add = Advance).

 
SMALL | MEDIUM | LARGE
   


Decrease the gasket thickness to retard the injection timing (Remove = Retard).

 
SMALL | MEDIUM | LARGE
   


The accompanying chart lists the different cam follower housing gaskets, the gasket thickness, and approximate change in push rod travel at 19 degrees BTDC 0.2032-inch piston travel.

 
SMALL | MEDIUM | LARGE
   


NOTE: The Print-O-Seal gasket (1) must be against the cylinder block with the sealing bead toward the cam follower housing. The minimum amount of gasket stack-up thickness which can be used is 0.43 mm [0.017 in] (one Print-O-Seal gasket). The maximum gasket stack-up thickness allowed is 2.03 mm [0.080 in].

 
SMALL | MEDIUM | LARGE
   


If you can not correct the injection timing by increasing or decreasing the thickness of the cam follower housing gaskets (1), an offset camshaft key (2) must be installed.

Refer to Procedure 001-013 in Section 1.

SMALL | MEDIUM | LARGE
   


After completing the injection timing check on cylinder number 1, check the injection timing on cylinders number 5 and 3.

Remove the injection timing tool.

SMALL | MEDIUM | LARGE
   


Install the injectors and hold-down clamps.

Use the following procedure for CELECT™ injectors instructions. Refer to Procedure 003-013 in Section 3.

NOTE: CELECT™ injectors require three different o-rings for the top, middle, and bottom positions.

Install the CELECT™ injector solenoid wire connector to the pass through connector.

SMALL | MEDIUM | LARGE
   


 CAUTION 

If the adjusting screws protrude beyond the maximum listed below, the push rods can be damaged when the rocker shaft capscrews are tightened. Do not attempt to install the rocker lever shaft assemblies again without resetting the lash.

Loosen the rocker lever adjusting screws so there is a maximum of 32.0 mm [1.25 in] from the top surface of the lever and the ball end of the adjusting screw.

Install the valve crossheads.

 
SMALL | MEDIUM | LARGE
   

Finishing Steps

TOC

SMALL | MEDIUM | LARGE
Last Modified:  16-Mar-2012