Cummins N14 STC, Celect, Celect Plus – Service Manual 002-004   Cylinder Head

Preparatory Steps

TOC

 WARNING 

Do not remove the pressure cap from a hot engine. Wait until the coolant temperature is below 50°C [120°F] before removing the pressure cap. Heated coolant spray or steam can cause personal injury.
 WARNING 

Coolant is toxic.  Keep away from children and pets. If not reused, dispose of in accordance with local environmental regulations.
 WARNING 

This component or assembly weighs greater than 23 kg [50 lb]. To prevent serious personal injury, be sure to have assistance or use appropriate lifting equipment to lift this component or assembly.

SMALL | MEDIUM | LARGE

Remove

TOC

 WARNING 

This component weighs 23 kg [50 lb or more. To reduce the possibility of personal injury, use a hoist or get assistance to lift this assembly.

Remove the two fuel crossover connections and the o-rings.

To prevent increased wear, mark each cylinder head as it is removed so it can be installed back in its original location.

Remove the 12 capscrews and washers from each cylinder head.

Lift the cylinder heads from the block, and remove the cylinder head gaskets.

SMALL | MEDIUM | LARGE
   


 CAUTION 

To prevent damage to the head gasket surface, put the cylinder heads on wooden blocks when they are removed.
 
SMALL | MEDIUM | LARGE
   

Inspect for Reuse

TOC

Inspect the push rods. Refer to Procedure 004-014 in Section 4.

SMALL | MEDIUM | LARGE
   


Inspect the valves for indications of leakage or burning.

If indications of leakage or burning are found, the valves and the seats must be resurfaced.

SMALL | MEDIUM | LARGE
   

Clean

TOC

Place a clean, lint-free cloth into each push rod cavity in the cylinder block, and plug the overhead oil supply rifle.

Use a gasket scraper to remove heavy dirt and debris from the head gasket surface of the cylinder block.

SMALL | MEDIUM | LARGE
   


 WARNING 

When using solvents, acids, or alkaline materials for cleaning, follow the manufacturer’s recommendations for use. Wear goggles and protective clothing to reduce the possibility of personal injury.

Use a razor blade scraper and solvent to remove any remaining material from the cylinder block surface.

SMALL | MEDIUM | LARGE
   


 WARNING 

When using solvents, acids, or alkaline materials for cleaning, follow the manufacturer’s recommendations for use. Wear goggles and protective clothing to reduce the possibility of personal injury.
 WARNING 

Wear appropriate eye and face protection when using compressed air. Flying debris and dirt can cause personal injury.

Clean with solvent and dry with compressed air.

Remove the cloths after the cylinder block is cleaned.

SMALL | MEDIUM | LARGE
   


 WARNING 

When using a steam cleaner, wear safety glasses or a face shield, as well as protective clothing. Hot steam can cause serious personal injury.
 WARNING 

Wear appropriate eye and face protection when using compressed air. Flying debris and dirt can cause personal injury.

Steam clean the cylinder heads and dry with compressed air.

Blow out all capscrew holes, fuel passages, and oil passages.

SMALL | MEDIUM | LARGE
   


Use a gasket scraper to remove heavy dirt and debris from the cylinder head gasket surface and the exhaust manifold gasket surface.

SMALL | MEDIUM | LARGE
   


 WARNING 

When using solvents, acids, or alkaline materials for cleaning, follow the manufacturer’s recommendations for use. Wear goggles and protective clothing to reduce the possibility of personal injury.

Use a razor blade scraper and solvent to remove any remaining material from the cylinder head gasket surface and the exhaust manifold gasket surface.

SMALL | MEDIUM | LARGE
   


 WARNING 

When using solvents, acids, or alkaline materials for cleaning, follow the manufacturer’s recommendations for use. Wear goggles and protective clothing to reduce the possibility of personal injury.
 WARNING 

Wear appropriate eye and face protection when using compressed air. Flying debris and dirt can cause personal injury.

Clean with solvent and dry with compressed air.

SMALL | MEDIUM | LARGE
   


Clean the rocker lever housing gasket surface on each cylinder head.

Inspect the cylinder heads for cracks or other damage.

If a crack in a cylinder head is suspected, pressure test the cylinder head.

SMALL | MEDIUM | LARGE
   

Leak Test

TOC

Test the cylinder head for damage.

Set the head down with the intake ports on the bottom.

Pour fuel into the exhaust port until it is full.

Set the container of fuel down and start the timer.

 
SMALL | MEDIUM | LARGE
   


If a drop of fuel drips or runs down the face of the head within 30 seconds, the exhaust valves and the seats must be resurfaced.

If a drop of fuel has not run down the face of the head in 30 seconds, the exhaust side is okay.

SMALL | MEDIUM | LARGE
   


Drain the fuel from the exhaust side of the head.

Turn the head over so the exhaust port is on the bottom.

Pour fuel into the intake ports until full.

Set the container of fuel down and start the timer.

 
SMALL | MEDIUM | LARGE
   


If a drop of fuel drips or runs down the face of the head within 30 seconds, the intake valves and the seats must be resurfaced. Refer to the N14 Shop Manual, Bulletin 3810487.

If a drop of fuel has not run down the face of the head in 30 seconds, the intake side is okay.

SMALL | MEDIUM | LARGE
   

Vacuum Test

TOC

Use valve vacuum tester, Part Number ST-1257, to inspect the seal between the valve and the valve seat.

SMALL | MEDIUM | LARGE
   


Install the seal ring, Part Number 3823848, and the vacuum cup, Part Number 3823847, to the vacuum hose.

SMALL | MEDIUM | LARGE
   


NOTE: The valves and valve seats must be clean and dry when vacuum testing.

Cover the valve with the cup and the seal.

NOTE: The seal must make a tight contact on the cylinder head around the valve. The seal must completely fill the two milled areas between the valves.

SMALL | MEDIUM | LARGE
   


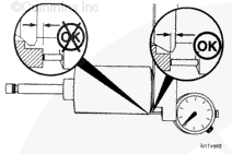
Move the toggle switch (1) to the ON position.

Turn the vacuum control valve (2) to the OPEN position.

NOTE: The vacuum control valve is in the OPEN position if the vacuum gauge needle moves clockwise.

SMALL | MEDIUM | LARGE
   


Operate the vacuum pump until the gauge indicates the specified vacuum.

Valve to Valve Seat Vacuum

mm-hg in-hg
508 MIN 20
635 MAX 25

Turn the toggle switch (1) to the OFF position.

 
SMALL | MEDIUM | LARGE
   


Use a stopwatch and start timing when the needle on the gauge indicates 457 mm-Hg [18 in-Hg].

Stop timing when the needle on the gauge indicates 203 mm-Hg [8 in-Hg].

The elapsed time for the needle to move between the specified gauge readings must be 10 seconds or more.

 
SMALL | MEDIUM | LARGE
   


If the elapsed time is less than 10 seconds, perform the following checks:

  • Repeat the test to make sure the equipment is operating correctly.
  • Use a mallet to lightly hit the valve stem to make sure the valve is seated. Repeat the test.
  • Apply a thin layer of grease on the outside diameters of the insert and the valve head. Repeat the test. The grease pattern will show the point of leakage.
 
SMALL | MEDIUM | LARGE
   


A break in the grease seal pattern will indicate leakage between the valves and the valve seat or the valve seat insert and the cylinder head.

 
SMALL | MEDIUM | LARGE
   

Disassemble

TOC

Install the cylinder head in a head holding fixture, Part Number ST-583, as illustrated.

NOTE: Do not install the cylinder head in the holding fixture if a valve spring compressor, Part Number ST-1022, is used.

SMALL | MEDIUM | LARGE
   


Use a valve spring compressor, Part Number ST-448, or equivalent, to compress the valve springs.

NOTE: Install a wooden block between the valves and the head holding fixture to support the valves.

NOTE: Valve spring stand, Part Number ST-1022, and the compressor plate, Part Number ST-1026, can be used to compress all eight springs at the same time.

SMALL | MEDIUM | LARGE
   


Use a pencil magnet to remove the valve collets. discard the valve collets.

Slowly release the pressure on the valve spring.

SMALL | MEDIUM | LARGE
   


Remove the valve spring retainer.

Remove the valve spring(s).

Remove the valve stem seal.

SMALL | MEDIUM | LARGE
   


Remove the valves.

NOTE: Mark the location of the valves with an engraving tool as they are removed. The intake and exhaust valves are manufactured from different materials. The exhaust valves can be installed in the intake valve location. Do not install the intake valves in the exhaust location.

Repeat the procedure to remove the remaining valve collets, retainers, springs, stem seals, and valves.

SMALL | MEDIUM | LARGE
   


Remove the pipe plugs and fuel fittings from the cylinder head.

Use an expansion plug removal tool, Part Number 3823159, to remove the expansion plugs.

NOTE: Expansion plugs must be removed from the head casting for cleaning purposes.

SMALL | MEDIUM | LARGE
   

Clean and Inspect for Reuse

TOC

Install the cylinder head and components in a tank of cleaning solution.

NOTE: Follow the cleaning solution manufacturer’s instructions when cleaning the components.

SMALL | MEDIUM | LARGE
   


 WARNING 

When using solvents, acids, or alkaline materials for cleaning, follow the manufacturer’s recommendations for use. Wear goggles and protective clothing to reduce the possibility of personal injury.
 WARNING 

Wear appropriate eye and face protection when using compressed air. Flying debris and dirt can cause personal injury.

Remove the cylinder head and components from the cleaning tank.

Use a fuel passage cleaning brush, Part Number ST-876, to clean the fuel and oil passages with solvent.

Dry with compressed air.

Inspect the fuel and oil passages to make sure they are clean.

SMALL | MEDIUM | LARGE
   


Clean the combustion deck exhaust and the intake manifold gasket surfaces with a Scotch-Brite®, Part Number 3823258 or equivalent, and diesel fuel or solvent.

SMALL | MEDIUM | LARGE
   


Clean with solvent and dry with compressed air.

SMALL | MEDIUM | LARGE
   


Clean and inspect the cylinder head capscrews. Refer to Procedure 002-032 in Section 2.

SMALL | MEDIUM | LARGE
   


Immediately after cleaning and inspecting the capscrews, apply a film of clean engine lubricating oil to the capscrews that are to be used again.

SMALL | MEDIUM | LARGE
   

Measure

TOC

Use a straight edge and a 0.003-inch feeler gauge to measure the flatness of the cylinder head gasket surface.

Flatness Per 25.4 mm [1.00 in] of Length

mm in
0.020 MAX 0.0008

Flatness Per Total Overall Length

mm in
0.08 MAX 0.003

NOTE: If the cylinder head is worn more than the maximum specified above, the cylinder head must be resurfaced. Reference the Alternative Repair Manual, Bulletin 3379035.

SMALL | MEDIUM | LARGE
   


Measure the thickness of the cylinder head.

Cylinder Head Thickness

mm in
110.74 MIN 4.360
111.43 MAX 4.387

SMALL | MEDIUM | LARGE
   


Measure the free height of the valve spring, Part Number 3070460.

Free Height (A)

mm in
Valve Spring:   87.88 MAX 3.460

SMALL | MEDIUM | LARGE
   


Use a valve spring tester, Part Number 3375182, to measure the valve spring load at the valve spring working height.

Working Height (B)

mm in
56.89 NOM 2.240

Load for Working Height (C)

mm in
1067 MIN 240
1156 MAX 260

NOTE: If the valve spring load for the working height is less than the minimum specified, the valve spring(s) must be replaced.

SMALL | MEDIUM | LARGE
   


Inspect the valve spring retainers and the valve stem seals for damaged or worn areas.

Remove the valve stem seals from the valve stem seal retainers and inspect for damaged or worn areas.

SMALL | MEDIUM | LARGE
   


Inspect the valves for damage.

Inspect the collet grooves for wear.

Replace damaged valves or valves with worn collet grooves.

Measure the outside diameter of the valve stem.

Stem Outside Diameter

mm in
9.59 MIN 0.3775
9.63 MAX 0.3793

SMALL | MEDIUM | LARGE
   


Use the valve head checking tool to measure the head thickness of the valves.

NOTE: Install the valve on the tool with the valve head contacting the tool as illustrated. If the valve head is even with or extends beyond the end of the tool, the valve can be reground. If the valve head is below the end of the tool, the valve is not thick enough for regrinding.

SMALL | MEDIUM | LARGE
   


If a valve head checking tool is not available after regrinding the valve seat surface, place the valve on a flat surface and measure the head thickness (1) at the outside diameter.

Valve Head Thickness (Outside Diameter)

mm in
2.90 MIN 0.114

NOTE: If the valve head is thinner than the minimum specified, the valve must be replaced.

SMALL | MEDIUM | LARGE
   


Inspect the valve guides for chips or cracks.

Measure the inside diameter of the valve guides 12.7 mm [0.50 in] from each end (1) and at the center as illustrated.

Valve Guide Inside Diameter (Installed)

mm in
9.662 MIN 0.3804
9.738 MAX 0.3834
 
SMALL | MEDIUM | LARGE
   


Measure the valve guide installed height.

Valve Guide Height (Installed)

mm in
31.75 MIN 1.250
32.76 MAX 1.290

NOTE: If damage is found or the valve guide(s) does not meet the limits specified, the valve guide(s) must be replaced.

 
SMALL | MEDIUM | LARGE
   


Measure the width of the valve seat area of the valve seat inserts.

Valve Seat Area (Width)

mm in
1.60 MIN 0.063
3.18 MAX 0.125

NOTE: If the valve seat area is worn wider than the maximum specified, repair or replace the valve seat insert.

 
SMALL | MEDIUM | LARGE
   


Perform the following steps to check the injector seating quality in the injector sleeve and to measure injector protrusion past the combustion face.

NOTE: Support the cylinder head to prevent damage to the injector tip which protrudes from the combustion face.

Apply a very light film of blueing compound to the outside diameter of the injector at the injector seat area. Blueing compound can effectively be applied by hand or with a brush.

 
SMALL | MEDIUM | LARGE
   


Install the injectors in the cylinder head without o-rings.

Place a 1.2-in thick block under the injector hold down clamp. This represents the rocker housing.

Tighten the injector hold down capscrews.

Torque Value:

STC and CELECT™  54  n.m  [40 ft-lb]
 
SMALL | MEDIUM | LARGE
   


Turn the cylinder head over and use a depth gauge, Part Number 3823495, to measure the injector tip protrusion.

Injector Tip Protrusion

mm in
1.47 MIN 0.058
1.82 MAX 0.072

NOTE: If the injector tip protrusion does not meet the specifications given, the injector sleeve must be machined again.

 
SMALL | MEDIUM | LARGE
   


Remove the injectors from the cylinder head and check the pattern of the blueing compound in the injector sleeve.

 
SMALL | MEDIUM | LARGE
   


The blueing pattern in the injector seating area (1) must be visible 360 degrees around the seating area.

The injector bore seating width (2) must be a minimum of 1.52 mm [0.060 in].

NOTE: If the injector protrusion is more than the maximum specified or if the injector sleeve blueing pattern does not meet the specifications given, the injector sleeve(s) must be replaced.

 
SMALL | MEDIUM | LARGE
   

Machine

TOC

Valve Seat


NOTE: If the valve guide inside diameter exceeds the maximum worn limit, replace the valve guide before grinding the valve seat.

Use a valve seat grinding machine, Part Number ST-685, and valve guide arbor set, Part Number ST-663, when grinding the valve seat inserts. Install the valve guide arbor (1) in the valve guide with the arbor puller (2).

NOTE: Rotate the arbor to make sure it is correctly installed.

SMALL | MEDIUM | LARGE
   


Install a valve seat grinding stone (3), Part Number ST-685-9, on the grinder unit.

NOTE: The grinding stone must be the correct size and have the correct angle (2 1/4-inch diameter X 30 degrees grinding angle).

Install the grinder unit on the arbor.

NOTE: The grinding stone (3) must not touch the valve seat insert when the drive unit motor is started.

SMALL | MEDIUM | LARGE
   


Hold the drive unit in a vertical position, and use an up-and-down movement of 12.7 mm [0.50 in] travel and light pressure to grind the insert.

Remove the grinder unit from the arbor.

SMALL | MEDIUM | LARGE
   


Install the eccentrimeter gauge (4), Part Number ST-685-4, on the arbor.

Measure the valve seat to valve guide concentricity.

Concentricity (Per 360 Degrees)

mm in
0.09 MAX 0.0035

NOTE: If the valve seat concentricity does not meet the specifications, grind the valve seat again. If the specifications can not be met, replace the valve seat insert. Refer to Procedure 002-019 in Section 2.

SMALL | MEDIUM | LARGE
   


Install the reconditioned valves in their respective bores. Hold the valve firmly against the valve seat insert.

 
SMALL | MEDIUM | LARGE
   


Use a depth gauge, Part Number 3823495, to measure the valve protrusion.

Valve Protrusion

mm in
-0.63 MIN -0.025
0.00 MAX 0.000
 
SMALL | MEDIUM | LARGE
   


If the valve protrusion is out of specification limits, replace the old valve (A) with a new valve (B) before replacing the valve seat. If the protrusion is within specification limits with the new valve, proceed using the new valve with the old seat.

 
SMALL | MEDIUM | LARGE
   


If the valve protrusion is still out of specification limits, even with a new valve (B), replace the valve seat (C) with a new valve seat (D). After replacing the valve seat, check the valve protrusion again with the old valve (A) to determine if it can be reused. If not, proceed using the new valve (B).

  1. Old Valve
  2. New Valve
  3. Old Valve Seat
  4. New Valve Seat.
 
SMALL | MEDIUM | LARGE
   


Check the valve seat contact area on the valve face to see if the valve seat contacts the center of the valve face.

Use a pencil or Dykem® to place vertical marks on the face of the valve.

 
SMALL | MEDIUM | LARGE
   


Install the valve in the valve guide. Hold the valve against the valve seat.

Rotate the valve backward and forward three or four times.

 
SMALL | MEDIUM | LARGE
   


Remove the valve, and measure the valve seat width and the seat contact area as indicated by the broken lines.

The pencil or Dykem® marks will be worn away where the valve contact the seat.

Valve Seat Width Limit

mm in
1.60 MIN 0.063
3.18 MAX 0.125
 
SMALL | MEDIUM | LARGE
   


Grind area (A) with a 60 degree stone and area (B) with a 15 degree stone to center the seat on the valve face and to obtain the valve seat width limits.

 
SMALL | MEDIUM | LARGE
   


The location of the broken lines on the valve face is the key to determining how much of each angle to grind.

If the broken lines are at the bottom of the valve face, the seat will require more grinding with the 60 degree stone than with the 15 degree stone.

 
SMALL | MEDIUM | LARGE
   


If the broken lines are at the top of the valve face, the seat will require more grinding with the 15 degree stone than with the 60 degree stone.

 
SMALL | MEDIUM | LARGE
   


 WARNING 

When using solvents, acids, or alkaline materials for cleaning, follow the manufacturer’s recommendations for use. Wear goggles and protective clothing to reduce the possibility of personal injury.
 WARNING 

Wear appropriate eye and face protection when using compressed air. Flying debris and dirt can cause personal injury.

After grinding the valve seats, use a bristle brush to clean the inside diameter of the valve guides.

Use solvent to clean the cylinder head.

Dry with compressed air.

 
SMALL | MEDIUM | LARGE
   

Grind

TOC

Valves


Use Scotch-Brite® 7448, Part Number 3823258, to clean the valve stems. Clean the carbon deposits from the valve face and head.

NOTE: The valves must be clean and free of carbon deposits before they are ground. Valves can be cleaned by the bead blasting method in the head area only.

SMALL | MEDIUM | LARGE
   


Use a valve facing machine, Part Number 3376256, to grind the face of the valve.

NOTE: Follow the instructions supplied with the valve facing machine for the correct setup before griding the valves.

SMALL | MEDIUM | LARGE
   


 WARNING 

When using solvents, acids, or alkaline materials for cleaning, follow the manufacturer’s recommendations for use. Wear goggles and protective clothing to reduce the possibility of personal injury.
 WARNING 

Wear appropriate eye and face protection when using compressed air. Flying debris and dirt can cause personal injury.

Grind the intake and exhaust valves to the angle, as illustrated.

Use solvent to clean the metal particles from the valve.

Dry with compressed air.

SMALL | MEDIUM | LARGE
   


Complete the following steps to tighten the capscrews to the specified torque values in the sequence shown:

Torque Value:

  1. 136 n.m   
    [100 ft-lb]
  2. 298 n.m   
    [220 ft-lb]
  3. Rotate 90 degrees.

Not less than one flat, and not more than two flats.

Repeat the tightening sequence to install each cylinder head.

SMALL | MEDIUM | LARGE
   


The markings on the head of the flange head capscrews serve as an aid during installation.

After tightening the capscrew to 298 N•m [220 ft-lb], mark the cylinder head adjacent to one of the two single marks “A” or “B” on the capscrew head.

 
SMALL | MEDIUM | LARGE
   


After all 12 capscrews on one head have been tightened to 298 N•m [220 ft-lb], they must be rotated in the tightening direction an additional 90 degrees. Rotate the capscrew until the mark on the cylinder head is between the next two marks joined by an arc (more than one flat and less than two flats).

When using torque plus angle, the tolerance on the 90 degree angle of rotation is one to two flats (90°± 30°). If the capscrew is rotated beyond two flats, do not loosen the capscrew.

The clamp load is still acceptable; however, rotating the capscrew beyond two flats causes additional stretch and reduces the number of reuses.

With correct tightening, the capscrew can typically be reused for the life of the engine.

 
SMALL | MEDIUM | LARGE
   

Magnetic Crack Inspect

TOC

NOTE: The cylinder head must be thoroughly cleaned after using the magnetic crack detector, Part Number ST-1166, so that all iron fragments are removed.

Use the magnetic crack detector, Part Number ST-1168, to find cracks in the areas around the valves the injectors.

SMALL | MEDIUM | LARGE
   


Fill the powder spray bulb one-third full of metal powder.

Place the magnetizing head on the cylinder head combustion surface, as illustrated, to check for cracks that run across the head.

SMALL | MEDIUM | LARGE
   


Lightly spray the metal powder onto the combustion surface.

Use compressed air regulated to 205 kPa [30 psi] to remove excess powder from the area. The powder will remain if there are any cracks and will appear as a white line.

Inspect the cylinder head for cracks in the combustion face.

SMALL | MEDIUM | LARGE
   


Place the magnetizing head on the combustion surface, as illustrated, to check for cracks that run lengthwise of the cylinder head.

Repeat the procedure as outline above.

SMALL | MEDIUM | LARGE
   


 WARNING 

When using solvents, acids, or alkaline materials for cleaning, follow the manufacturer’s recommendations for use. Wear goggles and protective clothing to reduce the possibility of personal injury.
 WARNING 

Wear appropriate eye and face protection when using compressed air. Flying debris and dirt can cause personal injury.

Clean with solvent and dry with compressed air.

 
SMALL | MEDIUM | LARGE
   


Use the valve head checking tool to measure the head thickness of the valve.

NOTE: If the valve head is below the end of the tool, the valve must be replaced.

 
SMALL | MEDIUM | LARGE
   


If a valve checking tool is not available, place the valve on a flat surface and measure the head thickness (1) at the outside diameter.

Head Thickness (at Outside Diameter)

mm in
2.90 MIN 0.114

NOTE: If the valve head is worn thinner than the minimum specified, the valves must be replaced.

 
SMALL | MEDIUM | LARGE
   


Use a lead pencil or Dykem® to mark across the valve face as illustrated. Install the valve in the valve guide.

Hold the valve against the valve seat, and rotate the valve backward and forward three or four times. Correct contact against the valve seat will break the marks on the valve face.

NOTE: Valves and valve seats that are currently machined do not require the use of lapping compound to make an air tight seal. If lapping compound is required, inspect the adjustments of the facing machine and the condition of the grinding stone.

 
SMALL | MEDIUM | LARGE
   


 
SMALL | MEDIUM | LARGE
   

Pressure Test

TOC

Mark each valve as it is removed to identify its location in the cylinder head.

Use valve spring compressor stand, Part Number ST-1022, and valve spring compressor plate, Part Number ST-1026, to remove the valves.

SMALL | MEDIUM | LARGE
   


Install two injector sleeve holding tools, Part Number ST-1179, into each cylinder head.

The following components are included in the injector sleeve holding:

  • Hexagon head capscrew
  • Flat washer
  • Anvil, Part Number ST-1179-4
  • Mandrel, Part Number ST-1179-2
  • Hexagon head capscrew.

SMALL | MEDIUM | LARGE
   


Tighten the injector sleeve holding tool capscrews.

Torque Value:

  1. 5 n.m   
    [45 in-lb]
  2. 10 n.m   
    [90 in-lb]
  3. 15 n.m   
    [130 in-lb]

SMALL | MEDIUM | LARGE
   


Install the cylinder head in hydrostatic tester, Part Number ST-1012, and hydrostatic tester adapter plate, Part Number ST-1013.

SMALL | MEDIUM | LARGE
   


Connect a regulated air supply hose to the test fixture plate.

Apply 280 kPa [40 psi] air pressure.

Use a hoist to place the cylinder head in a tank of warm water heated to 60°C [140°F].

SMALL | MEDIUM | LARGE
   


Completely submerge the cylinder head in the water.

Inspect for air bubbles rising from the water.

If air bubbles are seen, replace or rebuild the cylinder head.

SMALL | MEDIUM | LARGE
   


Remove the test equipment.

SMALL | MEDIUM | LARGE
   


Install the valves in their original positions in the cylinder head and the valve springs in the cylinder head as follows:

A. Valve

B. Valve Spring Guide and Stem Seal

C. Valve Spring

D. Valve Spring Retainer

E. Collets

SMALL | MEDIUM | LARGE
   

Assemble

TOC

Apply cup plug sealant, Part Number 3375068, to the outside diameter of the expansion plugs.

Use expansion plug drivers to install the expansion plugs in the cylinder head. Reference table below for part numbers.

Cup Plug Size
Driver Tool Part Number
3/4-inch
3376815
1-inch
3376816

NOTE: Use the correct expansion plug driver to make sure the expansion plugs are installed to the correct depth in the cylinder head. Drive the plug until the shoulder of the driver contacts the cylinder head.

SMALL | MEDIUM | LARGE
   


Use clean 15W-40 oil to lubricate the valve stems.

Install the valves in their original position in the cylinder head.

NOTE: After the valves are installed, place the cylinder head on a flat surface so the cylinder head surface will not be damaged.

SMALL | MEDIUM | LARGE
   


Install the valve steam seal.

Install the valve springs.

Install the valve spring retainers.

SMALL | MEDIUM | LARGE
   


Use valve spring compressor, Part Number ST-448 or equivalent, to compress the valve springs.

Install the new valve spring retainer collets.

NOTE: Use new valve spring retainer collets when rebuilding the cylinder head.

SMALL | MEDIUM | LARGE
   


Use a mallet to gently hit the valve stems to make sure the valve collets are correctly seated in the spring retainer.

 
SMALL | MEDIUM | LARGE
   


Use a valve vacuum tester, Part Number ST-1257, to vacuum test the valve seating.

 
SMALL | MEDIUM | LARGE
   

Install

TOC

Install new gaskets on the dowel pins in the cylinder block.

Make sure the side of the gasket marked “TOP” is up.

SMALL | MEDIUM | LARGE
   


Install the cylinder heads in their original locations over the dowel pins.

SMALL | MEDIUM | LARGE
   


Use clean 15W-40 oil to lubricate the cylinder head capscrews and both sides of the flat washers.

Allow the excess oil to drain from the threads.

Install 12 capscrews and washers in each cylinder head.

SMALL | MEDIUM | LARGE
   


Complete the following steps to tighten the flange head capscrews to the specified torque values in the sequence illustrated:

Torque Value:

  1. 136 n.m   
    [100 ft-lb]
  2. 298 n.m   
    [220 ft-lb]
  3. Rotate 90 degrees.

Not less than one flat, and not more than two flats.

Repeat the tightening sequence to install each cylinder head.

SMALL | MEDIUM | LARGE
   


The markings on the head of the flange head capscrews serve as an aid during installation.

After tightening the capscrew to 298 N•m [220 ft-lb], mark the cylinder head adjacent to one of the two single marks “A” or “B” on the capscrew head.

 
SMALL | MEDIUM | LARGE
   


After all 12 capscrews on one head have been tightened to 298 N•m [220 ft-lb], they must be rotated in the tightening direction an additional 90 degrees. Rotate the capscrew until the mark on the cylinder head is between the next two marks joined by an arc (more than one flat and less than two flats).

When using torque plus angle, the tolerance on the 90 degree angle of rotation is one to two flats (90°± 30°). If the capscrew is rotated beyond two flats, do not loosen the capscrew.

The clamp load is still acceptable; however, rotating the capscrew beyond two flats causes additional stretch and reduces the number of reuses.

With correct tightening, the capscrew can typically be reused for the life of the engine.

 
SMALL | MEDIUM | LARGE
   

Finishing Steps

TOC

 WARNING 

Do not remove the pressure cap from a hot engine. Wait until the coolant temperature is below 50°C [120°F] before removing the pressure cap. Heated coolant spray or steam can cause personal injury.
 WARNING 

Coolant is toxic. Keep away from children and pets. If not reused, dispose of in accordance with local environmental regulations.
 WARNING 

This component or assembly weighs greater than 23 kg [50 lb]. To prevent serious personal injury, be sure to have assistance or use appropriate lifting equipment to lift this component or assembly.

SMALL | MEDIUM | LARGE
Last Modified:  31-Oct-2011